Серийно изготавливаемый амперометрический электрохимический датчик ИБЯЛ.418425.117-01 (децимальный номер без упаковки) применяется для измерения концентрации растворённого кислорода (O2) в анализируемом водном растворе. Служит заменой отработавшего свой ресурс датчика кислорода. Датчик обеспечивает высокую точность и надёжность измерений, что позволяет получать точные результаты в самых различных условиях.
Является чувствительным измерительным элементом, входящим в состав переносного анализатора кислорода АНКАТ-7655-04. Устанавливается в газоаналитический прибор погружной частью вниз с максимальным углом наклона 20°.
Сферы применения датчика ИБЯЛ.418425.117-01 в составе АНКАТ-7655-04:
- фармацевтическое производство;
- экологический контроль;
- метрология;
- пищевая промышленность;
- рыбоводство и др.
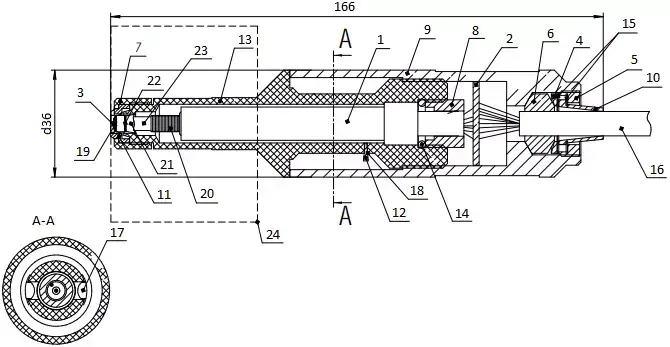
Внешний вид датчика амперометрического ИБЯЛ.418425.117-01

1 - внутренний корпус; 2 - плата предусилителя; 3 - мембрана; 4 - кольцо; 5 - гайка; 6 - кольцо уплотнительное; 7 - накидная гайка; 8 - гайка; 9 - кожух; 10 - втулка; 11 - втулка; 12 - пробка; 13 - основной корпус; 14 - кольцо уплотнительное; 15 - шайба; 16 - кабель связи с БИ; 17 - компенсатор; 18 - отверстие для заливки электролита; 19 - платиновый катод; 20 - серебряный анод; 21 - фторопластовая плёнка; 22 - нитки капроновые; 23 - держатель электродов; 24 - погружная часть.
Компания ООО «НПП «ГазоАналит» предлагает своим клиентам широкий выбор сенсоров для газоанализаторов, включая модель ИБЯЛ.418425.117-01. Все сенсоры, которые предлагает компания, имеют высокую точность, надежность и соответствуют международным стандартам качества.
